
Lineer Voltaj Regülatörü Nedir?
Lineer voltaj regülatörleri sabit bir voltajı elde etmek için kullanılan komponentlerdir. Regülatörün direnci hem giriş voltajına hem de yüke göre değişerek sabit bir voltaj çıkışı sağlar. 3.3V ve 5V lineer voltaj regülatörlerine elektronik devrelerde çok sık rastlarız.
7805, 78xx serisinin +5V çıkış voltajına sahip olan lineer voltaj regülatörüdür. 7805 aynı zamanda üzerinde bir soğutma plakasına sahiptir. Regülasyon sırasında kullanılan enerjinin bir kısmı ısı enerjisine dönüşür. Giriş voltajı ile çıkış voltajı arasında fark ile açığa çıkan ısı enerjisi doğru orantılıdır.

7805, OUTPUT, COMMON VE INPUT olmak üzere 3 pin e sahiptir. Burada değinmek istediğim bir konu var. Bu yazıyı yazmadan önce 7805 hakkında biraz araştırma yapmak istedim. Bir çok yerde COMMON pininden GND olarak bahsedildiğini gördüm ve OUTPUT pin’i 5V çıkışa sahiptir deniliyordu.
Bu konuyu açıklamanın en doğru yolu her zamanki gibi datasheet.Datasheet te bahsedildiği üzere 7805 regülatöründa OUTPUT – COMMON = 5V dur.Yani aslında COMMON’ı GND’ye bağladığmız zaman OUTPUT = 5V oluyor.
Fakat biz bu regülatörü kullanarak 5V dan farklı bir gerilim elde etmek istersek ne yapacağız?
Burada yapmamız gereken çıkış almak istediğimiz gerilimden 5V düşük bir voltajı COMMON pinine uygulamaktır. Bu voltajı daha önce bahsettiğimiz gerilim bölücüleri kullanarak INPUT geriliminden elde edebiliriz.

Datasheet’te gördüğümüz üzere 7805 2V Dropout voltaja sahiptir. Yani bu regülatörü elde etmek istediğiniz çıkış geriliminden en az 2V yüksek bir gerilimle beslemelisiniz. Giriş geriliminin 7-20 Volt arası olduğunu görmekteyiz. Burada unutmamız gereken şey giriş gerilimi ile çıkış gerilimi arasındaki farkın açığa çıkan ısıyı arttırdığıdır. 5V çıkış alabilmek için en verimli giriş voltajının yaklaşık 8 volt olduğunu söyleyebiliriz.
Açığa çıkan ısı enerjisi ile ilgili bir kaç formüle ulaştım fakat bunları Datasheet ile doğrulayamadığım için sizlerle paylaşmayı doğru bulmuyorum.
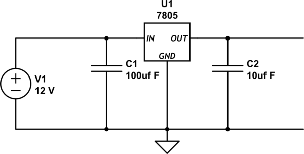
7805 Kapasitör Bağlantıları
7805 ile ilgili kapasör seçimi ile ilgili bir çok seçenek gördüm. Bu seçimin neye göre hangi formüllerle yapıldığını araştırdığımda çekilecek akım ve frekansının etkili olduğu bir kaç formüle ulaştım.Bunları daha detaylı araştırıp bu konu ile ilgili bir yazı yazmayı planlıyorum. Şuan için 5V çıkış değerinde sağlıklı kullanabileceğimiz kapasitör değerleri paylaşarak bu konuyu geçeceğim.



Giriş voltajına bağladığımız kapasitör Regülasyon işlemini rahatlatır. Çıkış voltajına bağladığımız ise çıkış gerilimdeki dalgalanmayı azalmaya yarar. Bu regülatör ile bir motor sürecekseniz çıkış gerilimine kapasitör bağlamanıza gerek yoktur fakat mikrodenetleyici gibi hassas bir cihazı besleyecekseniz çıkışa kapasitör bağlamalısınız.Çıkışa bağladığımız kapasitör değerini küçük tutmamızın sebebi oluşabilecek küçük dalgalanmalara daha hızlı müdahale edebilmesi içindir.